旋磁器件-产品手册
【产品手册】中国电科9所--旋磁器件产品手册.pdf
【联系方式】0816-2555055
一、总则
(一)产品命名形式

(二)产品功能及适用范围

二、产品概要
(一)制作工艺
※ 带状线结构表贴器件
A) 电路为铍青铜镀铜镀金或镀铜镀银。
B) 电阻与腔体采用焊接工艺,焊料为焊膏。
C) 产品外壳涂覆层为:Y15 或 SPCC 镀铜镀镍镀银。
※ 集总参数结构表贴器件
A) 电路为铜镀银。
B) 电容、电阻元件与腔体采用焊接工艺,焊料为焊膏。
C) 产品外壳涂覆层为:SPCC 镀镍镀银
※ 微带表贴器件
A) 薄膜微带电路为真空溅射而成。由底至表面分别为氮化钽、铬、铜、金层等。
B) 微带电路基片与底板采用焊接工艺。焊料为焊膏,或焊片。
C) 微带电路基片、支撑介质、补偿片、永磁体之间采用粘结工艺。
D) 微带表贴器件输入输出端口一般为 SAC305 锡球或 PCB 板材。
注:产品制造原材料、制造场所均符合 RoHS 环保管控。
(二)贮藏条件
器件的长期贮存条件:
——温度:15℃~35℃
——相对湿度:20%~70%
——无酸性、碱性或其它有害气体。
——产品附近不应有强磁场或铁磁性物质。
——产品之间应保持的安全距离为:
X 波段以上频率的器件:≥5 mm;
X 波段和 C 波段器件:≥10mm;
C 波段以下频率的器件:≥15mm
(三)使用安装说明

三、环形器
(一)带状线结构环行器
1. 结构组成
该结构主要由腔体、磁体、旋磁铁氧体基片、接地板、补偿片、盖板、插针介质组件等组成。

图:方型结构环行器外形示意图


图:圆形结构环行器外形示意图


图:带线型环行器外形结构示意图

(二)集总参数结构环行器
1.结构组成
集总参数结构隔离器主要由上金属外壳、下金属外壳、塑封外壳、锶恒磁、中心导体模组、电容等零件组成。
2.产品外形结构及外形尺寸
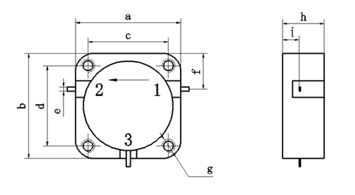
根据用户要求不一样,产品的结构外形可以根据用户的使用进行定制,一般地,推荐的外形如下所示。

图:小功率环行器外形结构示意图

四、隔离器
(一)带状线结构隔离器
1.结构组成
该结构主要由腔体、磁体、旋磁铁氧体基片、接地板、补偿片、盖板、负载等组成。
2.产品外形结构及外形尺寸
根据用户要求,产品的结构外形可以进行定制。推荐的外形如下所示。

图:大尺寸隔离器外形结构示意图


图:小尺寸隔离器外形结构示意图




